

全國客服電話18766926407手機:18560397707
郵箱:18766926407@163.com
地址:山東省淄博市博山區八陡鎮石炭塢村和平商業街南頭33號
模擬板是一種應用于配電室、變電所和變電站中的電力設備,屬于必配裝置之一,其主要功能是用于防止電力誤操作。模擬板上有電氣主結線圖,有能進行操作前預演的手柄(俗稱鈕子開關) 和能指示設備狀態的指示燈等。
產品詳情
模擬板是一種應用于配電室、變電所和變電站中的電力設備,屬于必配裝置之一,其主要功能是用于防止電力誤操作。模擬板上有電氣主結線圖,有能進行操作前預演的手柄(俗稱鈕子開關) 和能指示設備狀態的指示燈等。 電氣誤操作是威脅電網安全運行的頻發性事故,事故的發生可造成大面積停電,電氣設備毀壞,電網震蕩瓦解,甚至造成嚴重的人身傷亡事故,防止誤操作是電氣操作永恒的課題,在操作過程中使用模擬盤系統是防止電氣誤操作的有力措施之一。
模塊采用進口 ABS或PPO 注塑而成,具有 10 年不變色,抗靜電等特點;
單模塊平面度公差值S0.1mm,相鄰模塊之間的間隙S0.lmm,平整度公差值S0.2mm;
模塊顏色采用國際灰色(或用戶提供顏色) 均勻一致,無反光及傷痕;
阻燃氧指數為之27: 圖形符號采用模具壓鑄,絲網印刷及雕刻工藝;
線符號寬6-9mm,線路符號寬3-5mm;
線條寬度公差值≤0.05mm;
燈光顯示壽命≥20000 小時,諧波含量<5%,亮度均勻≥80cdm2;
出廠前實驗均很 72h 符合技術要求。 萬年歷自動恢復掉電記憶。
流動字幕可與微機接口實時顯時報警功能
通訊轉接盒 (SCD-300);具備 RS232 接口或RS485 接口接口,可與任何綜保廠家產品通訊:
.jpg)
模擬板作為工業領域的重要模擬現實設備,已經被廣泛的應用于公用事業及相關 領域的系統調度監控中心,它可以及時顯示現場設備的工作參數、運行狀態,向調度人員及時、真實、全面地反映系統設備的運行狀態,在一些設備變動相對頻繁的系統中,由于電腦顯示器本事的局限性,如果單一的借助其運行模擬顯示或者進行多個畫面、多項參數運行狀態的監測,難以達到預期的效果,但是現有的電路調度模擬板運輸攜帶不方便,而且不便于監控。針對此問題研制一種新型便攜式智能化電氣模擬板。
這種模擬板結構組成為:殼體、光帶顯示屏、顯示器、中央控 制器、輸入模塊和無線通信模塊。
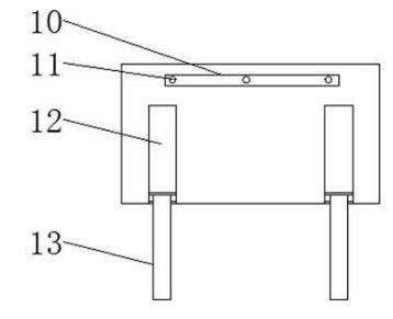
殼體的正面安裝有光帶顯示屏、顯示器以及控制按 鍵;控制按鍵的上方安裝有狀態指示燈、預警指示燈以及故障指示燈;殼體的一側 設有電源開關和電源線,殼體的底端鉸接有支腳,殼體的背面設有凹槽,凹槽的上方固定有安裝條,且安裝條上設有安裝孔,所述輸入模塊的輸出端與中央控制器的輸入端電性連接,中央控制器的輸出端分別與光帶顯示模塊、顯示器、指示燈模塊、蜂鳴報警器、報表打印模塊以及電流電壓顯示模塊的輸入端電性連接,中央控制器通過無線通信模塊與上位機連接。光帶顯示屏可拆卸安裝在殼體上;顯示器位于殼體的中間位置處,光帶顯示屏安裝在顯示器的四周;凹槽位于支腳的正上方,且凹槽的尺寸大于支腳的尺寸;在殼體上可拆卸的安裝有光帶顯示屏,在殼體的底端鉸接有支腳,且殼體的背面設有可放置支腳的凹槽,便于該模擬板的運輸的攜帶,同時由于顯示器位于殼體的中間位置處,光帶顯示屏安裝在顯示器的四周,便于監控,實用性強,在殼體的背面固定有安裝條,便于該模擬板的安裝固定,該模擬板 可通過無線通信模塊與上位機連接,智能化程度高,便于控制,使用方便。構造如圖:



1- 殼體 ;2- 光帶顯示屏 ;3- 顯示器 ;4- 狀態指示燈 ;5 預警指示燈 ; 6- 故障指示燈 ;7- 控制按鍵 ;8- 電源開關 ;9- 電源線 ;10- 安裝條 ;11- 安裝孔 ;12- 凹槽 ; 13- 支腳 ;14- 光帶顯示模塊 ;15- 中央控制器 ;16- 輸入模塊 ;17- 無線通信模塊 ;18- 上位 機 ;19- 指示燈模塊 ;20- 蜂鳴報警器 ;21- 報表打印模塊 ;22- 電流電壓顯示模塊。
這種新型便攜式智能化電氣模擬板,包括殼體 1、光帶顯示屏 2、顯示器 3、中央控制器 15、輸入模塊 16 和無線通信模塊 17,殼體 1 的正 面安裝有光帶顯示屏 2、顯示器 3 以及控制按鍵 7,光帶顯示屏 2 可拆卸安裝在殼體 1 上,顯示器 3 位于殼體 1 的中間位置處,光帶顯示屏 2 安裝在顯示器 3 的四周,控制按鍵 7 的上方安裝有狀態指示燈 4、預警指示燈 5 以及故障指示燈 6,殼體 1 的一側設有電源開關 8 和電源線 9,殼體 1 的底端鉸接有支腳 13,殼體 1 的背面設有凹槽 12,凹槽 12 位于支腳 13 的正上方,且凹槽 12 的尺寸大于支腳 13 的尺寸,凹槽 12 的上方固定有安裝條 10,且安裝條 10 上設有安裝孔 11,輸入模塊 16 的輸出端與中央控制器 15 的輸入端電性連接,中央控制器15 的輸出端分別與光帶顯示模塊 14、顯示器 3、指示燈模塊 19、蜂鳴報警器 20、報表打印模塊 21 以及電流電壓顯示模塊 22 的輸入端電性連接,中央控制器 15 通過無線通信模塊 17與上位機 18 連接。
工作原理 :由于顯示器 3 位于殼體 1 的中間位置處,光帶顯示屏 2 安裝在顯示器3 的四周,便于控制人員的監控,當電力系統遇到狀況時,蜂鳴報警器 20 和預警指示燈 5 工作,提手控制人員,同時顯示器 3 顯示出發生狀況的具體位置,當電力系統發生故障時,蜂鳴報警器 20 和故障指示燈 6 工作,同時顯示器 3 顯示出發生故障的具體位置,該模擬板可通過無線通信模塊 17 與上位機 18 進行連接,便于遠程控制,而且光帶顯示屏 2 可拆卸安裝在殼體 1 的正面,殼體 1 的底部鉸接有支腳 13,為運輸和攜帶提供便捷。
截屏,微信識別二維碼
微信號:18766926407
(點擊微信號復制,添加好友)